Description RING SET, PISTON (0.25) (NOT AVAILABLE)
Serial Range 1000001 - 9999999
Qty
Price $27.76
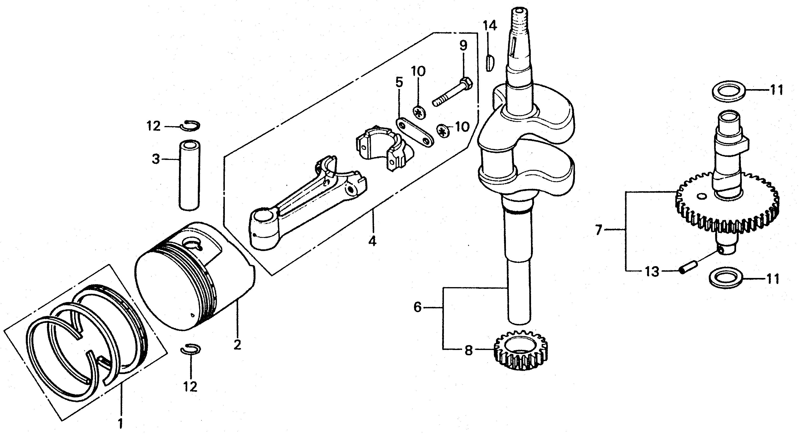
Ref No 1
Part Number 13012-887-000
Description RING SET, PISTON (0.50) (NOT AVAILABLE)
Serial Range 1000001 - 9999999
Ref No 1
Part Number 13013-887-000
Description RING SET, PISTON (0.75) (NOT AVAILABLE)
Serial Range 1000001 - 9999999
Ref No 2
Part Number 13101-887-003
Description PISTON (STD)
Serial Range 1000001 - 9999999
Qty
Price $96.52
Ref No 2
Part Number 13102-887-000
Description PISTON (0.25)
Serial Range 1000001 - 9999999
Ref No 2
Part Number 13103-887-000
Description PISTON (0.50)
Serial Range 1000001 - 9999999
Ref No 2
Part Number 13104-887-000
Description PISTON (0.75) (NOT AVAILABLE)
Serial Range 1000001 - 9999999
Ref No 3
Part Number 13111-883-000
Description PIN, PISTON
Serial Range 1000001 - 9999999
Qty
Price $11.63
Ref No 4
Part Number 13200-888-030
Description ROD ASSY., CONNECTING
Serial Range 1000001 - 9999999
Ref No 4
Part Number 13200-888-335
Description ROD ASSY., CONNECTING (UNDER SIZE) (NOT AVAILABLE)
Serial Range 1000001 - 9999999
Ref No 5
Part Number 13281-888-000
Description WASHER, CONNECTING ROD
Serial Range 1000001 - 9999999
Qty
Price $2.69
Ref No 6
Part Number 13310-952-000
Description CRANKSHAFT (NOT AVAILABLE)
Serial Range 1000001 - 9999999
Ref No 7
Part Number 14110-888-010
Description CAMSHAFT ASSY.
Serial Range 1000001 - 3040754
Ref No 7
Part Number 14110-888-020
Description CAMSHAFT ASSY. (NOT AVAILABLE)
Serial Range 3040755 - 9999999
Ref No 8
Part Number 14311-888-300
Description GEAR, TIMING
Serial Range 3040755 - 9999999
Ref No 9
Part Number 90001-883-020
Description BOLT, CONNECTING ROD (7MM)
Serial Range 1000001 - 9999999
Qty
Price $4.35
Ref No 10
Part Number 90432-889-003
Description WASHER, LOCK (7MM)
Serial Range 1000001 - 9999999
Qty
Price $1.74
Ref No 11
Part Number 90452-883-000
Description WASHER, THRUST (18MM)
Serial Range 1000001 - 9999999
Qty
Price $3.30
Ref No 12
Part Number 90551-883-000
Description CLIP, PISTON PIN (15MM)
Serial Range 1000001 - 9999999
Ref No 12
Part Number 94601-15000
Description CLIP, PISTON PIN (15MM)
Serial Range 1000001 - 9999999
Qty
Price $1.30
Ref No 13
Part Number 94305-25162
Description PIN, SPRING (2.5X16)
Serial Range 1000001 - 9999999
Qty
Price $1.91
Ref No 14
Part Number 94401-25180
Description KEY, WOODRUFF (25X18)
Serial Range 1000001 - 9999999
Qty
Price $1.76
Item added to your cart
California Prop 65 Information
Internal Combustion Engine Products:
WARNING:
This product can expose you to chemicals including soots, tars, and mineral oils, which are known to the State of California to cause cancer,
and carbon monoxide, which is known to the State of California to cause birth defects or other reproductive harm. For more information go to
www.P65Warnings.ca.gov.
Miimo Robotic Mower
WARNING:
This product can expose you to chemicals including lead and lead compounds, which are known to the State of California to cause cancer and birth defects or other reproductive harm.
For more information go to
www.P65Warnings.ca.gov.