Snow Blowers HS HS1132 HS1132 TA SZBF-1000001-1009999 TOOLS - Honda East, Inc.

Ref No
Part Number
Description
Serial Range
Qty
Price

Ref No
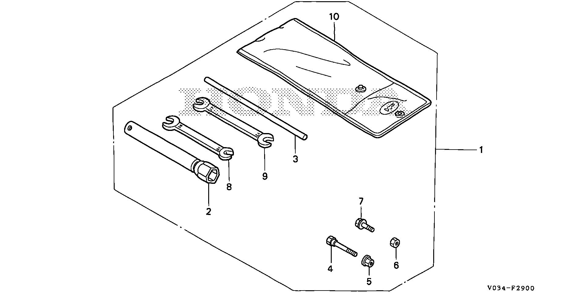
1
Part Number
89000-V03-000
Description
TOOL KIT
Serial Range
1000001 - 1004670

Ref No
1
Part Number
89000-V03-010
Description
TOOL KIT (NOT AVAILABLE)
Serial Range
1004671 - 9999999

Ref No
2
Part Number
89216-809-000
Description
WRENCH, SPARK PLUG
Serial Range
1004671 - 9999999
Qty
Price
$9.03

Ref No
3
Part Number
89219-805-000
Description
HANDLE, BOX WRENCH
Serial Range
1000001 - 9999999
Qty
Price
$3.80

Ref No
4
Part Number
90102-732-010
Description
BOLT, LOCK
Serial Range
1000001 - 9999999

Ref No
5
Part Number
90114-SA0-000
Description
NUT, SELF-LOCK (6MM)
Serial Range
1000001 - 1004670
Qty
Price
$4.10

Ref No
6
Part Number
94001-06000-0S
Description
NUT, HEX. (6MM)
Serial Range
1000001 - 1004670

Ref No
6
Part Number
94001-06200-0S
Description
NUT, HEX. (6MM)
Serial Range
1000001 - 1004670
Qty
Price
$1.68

Ref No
7
Part Number
92101-06016-0A
Description
BOLT, HEX. (6X16)
Serial Range
1004671 - 9999999
Qty
Price
$1.87

Ref No
7
Part Number
95701-06016-00
Description
BOLT, FLANGE (6X16)
Serial Range
1000001 - 1004670
Qty
Price
$2.08

Ref No
8
Part Number
99001-10140
Description
SPANNER (10X14)
Serial Range
1004671 - 9999999
Qty
Price
$4.26

Ref No
9
Part Number
99001-12170
Description
SPANNER (12X17)
Serial Range
1004671 - 9999999
Qty
Price
$10.31

Ref No
10
Part Number
89101-ME5-670
Description
BAG, TOOL
Serial Range
1000001 - 9999999