Tillers FG FG100 FG100 A1/A FZCV-6000001-9999999 COVER - Honda East, Inc.

Ref No
Part Number
Description
Serial Range
Qty
Price

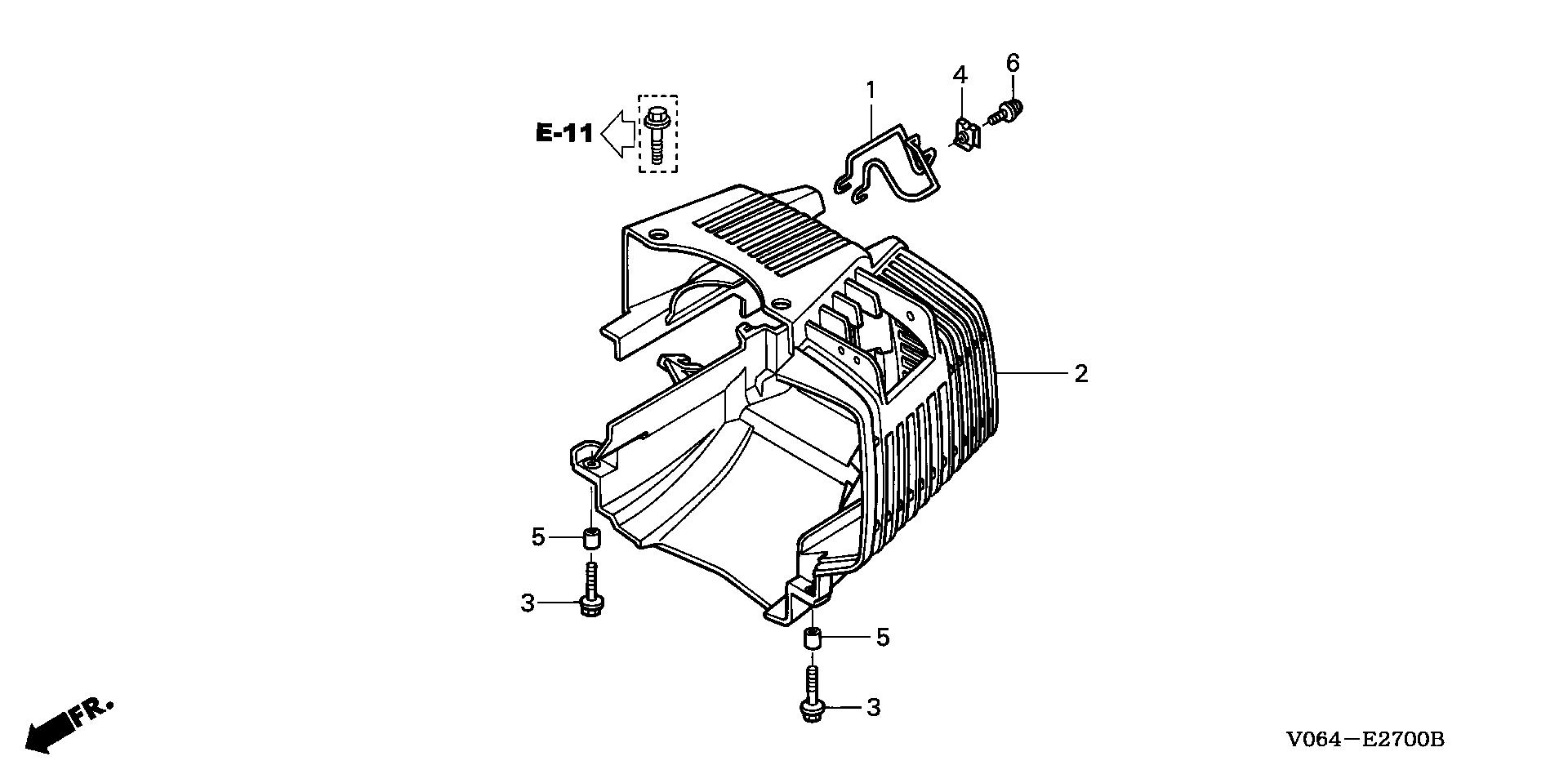
Ref No
1
Part Number
18388-ZM3-000
Description
GUARD, DEFLECTOR
Serial Range
1000001 - 9999999

Ref No
2
Part Number
19720-ZM3-810ZA
Description
COVER, TOP *R280* (POWER RED)
Serial Range
1000001 - 9999999

Ref No
3
Part Number
90112-GK8-010
Description
BOLT, FLANGE (5X22)
Serial Range
1000001 - 9999999
Qty
Price
$3.63

Ref No
4
Part Number
90201-ZM3-000
Description
NUT, PLATE
Serial Range
1000001 - 9999999

Ref No
5
Part Number
91502-ZM3-000
Description
COLLAR, TOP COVER
Serial Range
1000001 - 9999999
Qty
Price
$1.45

Ref No
6
Part Number
93891-04010-00
Description
SCREW-WASHER (4X10)
Serial Range
1000001 - 9999999
Qty
Price
$0.92